BTDC كوليت تشاك نحيف (JIS-B 6339)

تحديد المواقع عالي الدقةيستخدم واجهات مستدقة دقيقة (معايير HSK و BT و CAT) لتقليل نفاد الأداة (≤0.003 مم).:

قوة لقط قويةتضمن آلية القفل القابل للسحب الاحتفاظ الآمن بالأداة.:

موازنة عالية السرعةتصميم التوازن الديناميكي المحسن يدعم القطع فائق السرعة:


تفاصيل المنتج

وصف المنتج

حامل الأداة هو جهاز تثبيت عالي الدقة وعالي الصلابة لمراكز التصنيع باستخدام الحاسب الآلي وآلات الطحن والمخارط. إنها تستخدم آلية قفل قابلة للسحب لضمان أقصى ثبات ودقة أثناء الدوران عالي السرعة ، مما يجعلها مثالية للقطع شديد التحمل والتشغيل الدقيق.


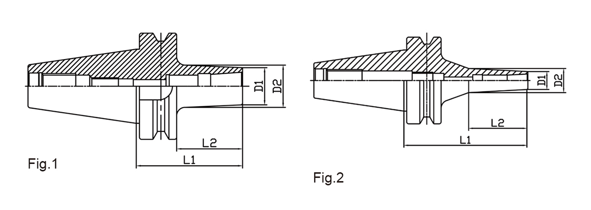
همزUCT تخطيطي


BTDC كوليت تشاك نحيف (JIS-B 6339)

معلمة المنتج

BTDC كوليت تشاك نحيف (JIS-B 6339)

مزايا المنتج

حامل الأداةإظهار مزايا بارزة في التصنيع باستخدام الحاسب الآلي الحديث نظرا لهيكلها الفريد وهندستها الدقيقة. أولا ، يقلل نظام التثبيت عالي الصلابة بشكل كبير من اهتزاز الأداة ، مما يضمن عمليات تصنيع مستقرة - خاصة للمكونات عالية الدقة (مثل القوالب وأجزاء الطيران) - وبالتالي تحسين تشطيب السطح.ثانيا ، توفر آلية القفل القابل للسحب قوة إمساك أقوى ، مما يمنع انزلاق الأداة حتى أثناء القطع شديد التحمل (على سبيل المثال ، سبائك التيتانيوم أو الفولاذ المقوى) ، مما يعزز السلامة التشغيلية.


BTDC كوليت تشاك نحيف (JIS-B 6339)



بالإضافة إلى ذلك، يحافظ تصميم التوازن الديناميكي المحسن على اهتزاز منخفض عند السرعات العالية (أكثر من 20,000 دورة في الدقيقة)، مما يطيل من عمر كل من الأداة والمغزل. بالمقارنة مع خراطيش الكوليت التقليدية ، تتيح حوامل أدوات السحب تغييرات أسرع للأداة ودعم المعايير الدولية (HSK ، BT ، إلخ) ، والتكامل بسلاسة مع مراكز المعالجة المتطورة لتقليل وقت التوقف عن العمل وزيادة الإنتاجية.


BTDC كوليت تشاك نحيف (JIS-B 6339)



الملحقات الاختيارية

حامل الأداةيمكن تجهيزها بأكوليت اختيارية قابلة للسحب لاستيعاب متطلبات تثبيت الأدوات المختلفة. مصنوعة من سبائك الصلب عالية القوة ومعالجتها بالطحن الدقيق والمعالجة الحرارية ، تضمن هذه الأكوليت صلابة عالية ومقاومة للتآكل. يوفر التصميم المستدق الداخلي محاذاة مثالية مع حامل الأداة ، مما يوفر قوة تثبيت محسنة وتركيز فائق (≤0.005 مم) ، مما يجعلها مثالية لتطبيقات الطحن والحفر والتنصت الدقيقة. يمكن للمستخدمين تحديد أطواق بناء على أقطار ساق الأداة (على سبيل المثال ، φ6 مم ، φ10 مم ، φ16 مم) لتغيير الأداة بسرعة وتحسين كفاءة المعالجة. تتميز بعض الطرز أيضا بتصميم مقاوم للغبار لمنع دخول الرقائق ، وإطالة عمر الخدمة.


BTDC كوليت تشاك نحيف (JIS-B 6339)

فحص الجودة

تمتلك Jiehe Machinery مصنعا رائدا لإنتاج حامل الأدوات ومركزا للتفتيش والاختبار في الصين ، مع قدرات التصنيع التي تحتل المرتبة الأولى في الأعلى. تشمل معدات الإنتاج والاختبار الأساسية لدينا GROB و TAKISAWA و Doosan و HAIM و KELCH و ZOLLER و Mitutoyo وما إلى ذلك ، ونمتلك أيضا مجموعة كاملة من حاملات الأدوات القياسية ومقاييس حامل الأدوات من Diebold الألمانية. يضمن استخدام هذه المعدات أيضا تفوق كفاءة الإنتاج وجودة المنتج.

لدينا خط إنتاج ذكي يضمن استقرار جودة المنتج ويحسن بشكل كبير من كفاءة الإنتاج.


BTDC كوليت تشاك نحيف (JIS-B 6339)


BTDC كوليت تشاك نحيف (JIS-B 6339)


عرض المصنع

تأسست شركة Jining Jiehe Machinery Co.، Ltd. في عام 2000 ، وهي مؤسسة وطنية ذات تقنية عالية وشركة مبتكرة تعتمد على التكنولوجيا على مستوى المقاطعات. متخصصة في ملحقات أدوات آلة CNC ، تقدم الشركة أكثر من 1,000 نوع من المنتجات ، مع تصدير 60٪ من المنتجات. مع أكثر من 200 آلة CNC وفريق من أكثر من 100 موظف ، حصلت Jiehe على أكثر من 30 براءة اختراع وطنية وهي معترف بها لعلاماتها التجارية المعروفة مثل CNCJiehe و Sun Moon Lake و Goose. تشارك الشركة بانتظام في المعارض الدولية في جميع أنحاء بكين وشنغهاي والولايات المتحدة وألمانيا وإيطاليا وطوكيو، لبناء حضور قوي في السوق العالمية. من خلال مقارنة أفضل الشركات في ألمانيا واليابان ، حققت Jiehe تطورا سريعا وأنشأت قاعدة إنتاج وبحث وتطوير شاملة مع الشركات التابعة في Jining و Shandong و Suzhou وما وراءها.


BTDC كوليت تشاك نحيف (JIS-B 6339)

BTDC كوليت تشاك نحيف (JIS-B 6339)

BTDC كوليت تشاك نحيف (JIS-B 6339)


BTDC كوليت تشاك نحيف (JIS-B 6339)

BTDC كوليت تشاك نحيف (JIS-B 6339)


اترك رسائلك

المنتجات ذات الصلة

x

المنتجات الشعبية

x